上海大众搬家公司网站优化案例

2019/1/10 14:41:37 来源:云无限

  今天来讲述一下搬家公司的案例。首先我们在什么情况下才可以想到搬家公司呢,是不是只要在搬家才可能想到搬家公司。我们要扩大一下范围把尽可能需要搬家公司的地方都考虑进去,比如公司换个工作场地是不是需要到搬一下办公设备,比如在室外办一场活动是不是需要搬一些活动需要的工具这就需要搬家公司了。

  上面说了两点尽可能需要到搬家公司的工作的两种情况,既然有这两种情况,我们就要把握住,来获取很多的客户。

  如果让客户找到我们呢?这样我们需要在词上做文章。比如我们有需求要找搬家公司我们会如何去做?是不是我们会打开百度搜索一下搬家公司,或者你在地区加上地区名字上海搬家公司,又或者直接搜索搬家公司电话,上海搬家公司电话。客户找到你之后如何才确定你来帮他服务呢,你应该把你服务主旨体现出来,让客户眼前一亮,就确定你来帮他服务。接下来要做的任务就是把客户提到一些词来优化到首页来获取业务。

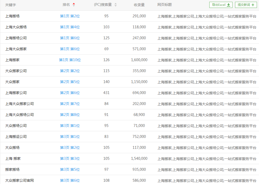
  这是就是根据分析的情况提供的一些词

  

 

  我们接到客户的站的时候发现是个新站,新站对于网站优化来说难度不大。接下来就是把网站来进行基础的网站优化调整。

  网站tdk的调整

  

  主营业务的小标题描述可以根据关键词来进行书写,这样可以更好的体现关键词,更快出排名。

  

  给图片添加alt描述,有利于百度蜘蛛的抓取

  

  

  咱们这个站简单大方,又符合搜索引擎的规则,需要大面积调整的地方不多,接下来就是网站进行长期维护的阶段了,进行一些文章的发布,友链内链的交换。

  中间进行的一系列维护就不在详细描述了,现在来看一下现在达到一个什么情况了。

  从当初的新站到现在的情况有流量,有排名。

  

  网站现在收录的情况

  

  当初客户提供的6个词现在已经有5个词达标在首页了:上海搬场公司、上海搬场、上海大众搬家、上海大众搬场、上海搬场公司。这些词已经达标了,www.dz56s.com 各位可以自己百度查看一下。

  

  感谢上海搬家公司的客户相信我们云无限,全部委托我们来优化,优化过程中对我们全方面的配合,我们由衷的表示感谢。客户选择我们就是对我们的信任,我们以优化的角度更了解客户的需求。客户的每一份信任,就是我们的动力!